Elektronische Piave wastafelmengkraan met mengkraan, voor inbouwdoos
Gebruiksdoel
- Voor drinkwater gebruik
- Voor de publieke en semi-publieke sector
- Voor installatie in Geberit installatie-elementen voor wastafel, wandkraan met inbouw functiebox
- Voor koud- en warmwateraansluiting (alleen voor mengversie)
- Voor aansluiting van koud en warm water (alleen bij uitvoering met menging)
- Voor gebruik met roestvrijstalen spoelbakken
- Voor debiet > 3 l/min
- De mengversie is niet ontworpen voor een doorstroomverwarmer
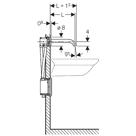
- Voor bekledingsdiktes van 10-50 mm
Kenmerken
- Armatuurgroep I conform DIN 4109
- Automatische wateractivering
- Infrarood sensor voor gebruikersherkenning
- Zelfaanpassende infraroodsensor
- Vandalismebestendig
- Doorstroombegrenzing via waterstroomrichter
- Temperatuurregeling via mengventiel (alleen voor mengversie)
- Water instelbaar als niet alleen heet of niet alleen koud (alleen voor mengkraanversie)
- Met stroomvoorziening via generator en accumulator
- Onafhankelijke stroomvoorziening
- Waarschuwing bij lage accuspanning
- Economische werkingsmodus instelbaar
- Waterbesparing dankzij dual-current sensortechnologie met snel reactievermogen
- De functie kan met de service-afstandsbediening worden ingesteld en opgevraagd
- Waterbesparingsprogramma instelbaar
- Instelbaar doorspoelintervalprogramma
- Permanente doorspoeling individueel instelbaar
- Bediening van de spoelstart kan worden gedeactiveerd via Geberit onderhoudscontrole
- Diverse functies handmatig instelbaar
- Met ingebouwde terugslagklep
- Functionele eenheid met ingebouwde korffilters
- Vanaf een gemiddeld gebruik van 50 keer per dag van elk 4 seconden werkt de wastafelkraan zelfstandig.
Technische gegevens
- Beschermingsgraad: IPX4
- Bedrijfsspanning: 3,2 V DC
- Bedrijfsdruk: 200-1000 kPa
- Drukverschil koud/warm water: ≤ 150 kPa
- Maximale testdruk water: 1600 kPa
- Maximale testdruk lucht / inert gas: 300 kPa
- Omgevingstemperatuur: 1–40 °C
- Opslagtemperatuur: -20 – +70 °C
- Maximale watertemperatuur: 60 °C
- Maximale watertemperatuur, kortstondig: 90 °C
- Debiet bij 3 bar druk): 5 l/min
- Berekend debiet: 0,07 l/sec
- Minimale overdruk voor berekend debiet: 200 kPa
- Cyclusspoeling, instelbereik: 1-168 uur
- Spoelinterval (fabrieksinstelling): 24 uur
- Cyclusspoeling, instelbereik: 5-200 sec
- Spoelinterval (fabrieksinstelling): 5 sec
- Materiaal: verchroomd messing / kunststof
De verpakking bevat
- Wastafel armatuur
- Infraroodsensor met aansluitkabel
- Besturingselektronica
- Functionele eenheid
- Accu voor generator
- Sleutel voor waterstroomrichter
- Bevestigingsmateriaal
















Beoordelingen
Er zijn nog geen beoordelingen.